A marine gate valve is a specialized type of gate valve designed for use in shipboard and offshore applications to control the flow of liquids (e.g., seawater, fuel, or ballast water) in pipelines.
Key Characteristics
Durable Construction Made of corrosion-resistant materials to withstand harsh marine environments.
Bidirectional Flow Suitable for systems requiring flow control in both directions.
Tight Seal Ensures minimal leakage when closed, critical for safety and efficiency.
Slow Operation Prevents water hammer, protecting pipeline systems.
Technical Breakdown (JIS F7367 5K)
- JIS: Japanese Industrial Standard.
- 5K: Pressure rating (approx. 500 kPa / 72.5 psi).
- Cast Bronze/Iron: High-grade material for valve body and components.
- Rising Stem: Mechanism where the stem moves upward to open the valve.
| Item | Specifications |
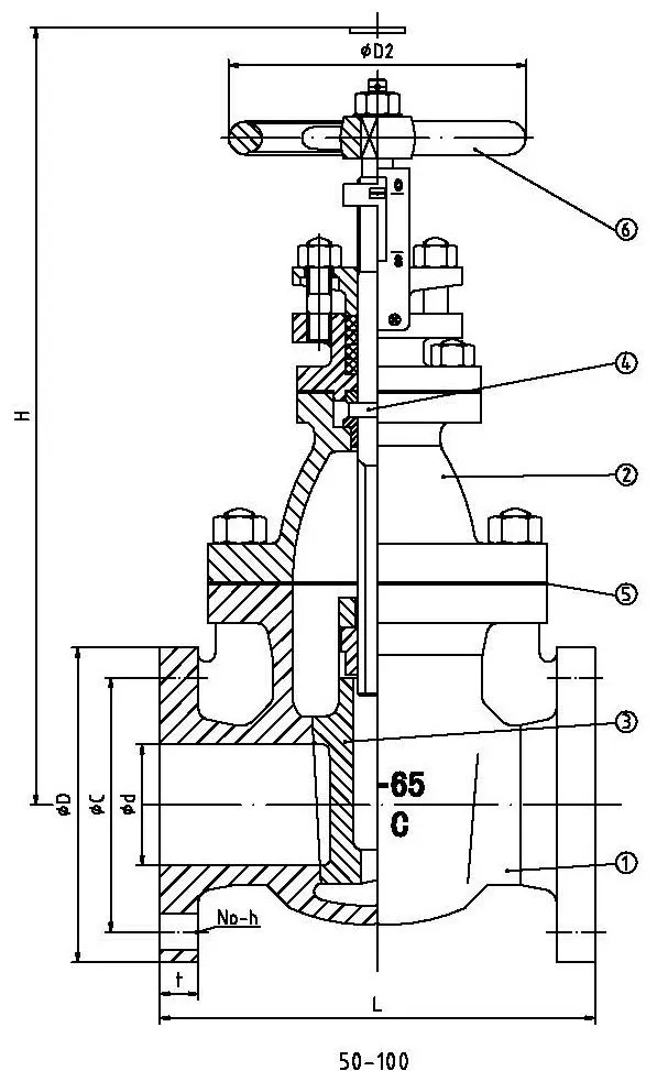
| Structure | Gate |
| Port Size | DN 15-100 |
| Body Material | BC6 / Cast Iron |
| Stem Material | C3771BD or BE |
| Handwheel | FC200 |
| Execution Standard | JIS F 7367 / JIS F 7363 |
We are a professional marine valve manufacturing enterprise. We mainly produce marine valves and accessories like gate valve, globe valve, stop valve, check valve, butterfly valve, ball valve, and storm valve with Japanese, German, and national standards.
Our facility includes an 8000 square meter production workshop equipped with processing workshops, assembly workshops, pressure testing workshops, and painting assembly lines. We utilize CNC machines, lathes, milling machines, and valve sealing test benches to ensure high-quality production.
Integrated Production Own production line and workshop for all processes to save costs.
Flexible Scheduling Full control over production schedules for faster delivery.
Quality Control Rigorous quality assurance at every stage of the production line.
Certifications Class Approval Certifications and post-sale quality guarantee.
Frequently Asked Questions
Are you a trading company or manufacturer?
We are a specialized manufacturer located in China, focused on high-quality marine valves.
What is your main product range?
We produce a wide range of marine valves, including gate valves, check valves, stop valves, globe valves, ball valves, and butterfly valves.
What execution standards do you follow?
Our products are manufactured according to JIS, GB, DIN, and BS international standards.
How long is the typical delivery time?
Normally it is 3 days if the goods are in stock. For non-stock items, it takes approximately 35 days depending on the quantity.
Do you provide customized support or OEM?
Yes, we provide OEM services and can produce valves based on your specific drawings or logo requirements.
What are your payment and price terms?
We accept FOB, CIF, etc. Our standard payment terms are 30% deposit in advance and balance before shipment.